Qingdao Xinguangzheng Steel Structure Co., Ltd
НОВОСТИ
Домой / Новости / НОВОСТИ / Различные встроенные детали в стальной конструкции

Различные встроенные детали в стальной конструкции

Просмотры:0     Автор:Pедактор сайта     Время публикации: 2024-03-16      Происхождение:Работает

Запрос цены

facebook sharing button
twitter sharing button
line sharing button
wechat sharing button
linkedin sharing button
pinterest sharing button
whatsapp sharing button
sharethis sharing button

При проектировании и построении встроенных деталей часто применяются следующие типы: Встроенный якорный бар, Встроенный якорный болт и химический болтПолем Итак, каковы их различия?

Встроенные якорные батончики должны быть подкреплением HRB400 или HPB300. Прямые якоря и якорная пластина должны быть сварены в форме T. Сварка дуговой подставки под давлением должна использоваться, когда диаметр якоря составляет не более 20 мм, а сварка из перфорированной пробки должна использоваться, когда диаметр якоря превышает 20 мм.

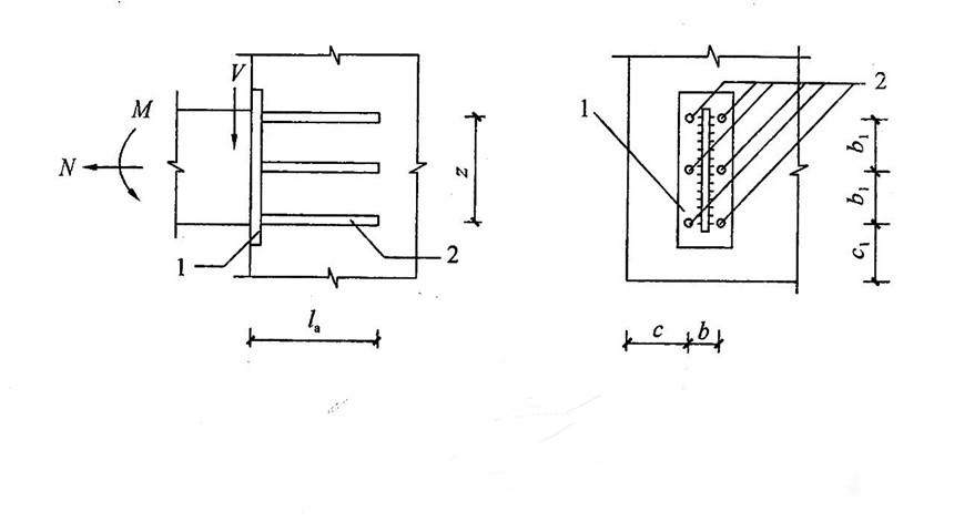
1. Якорный стержень

Диаметр напряженного прямого Якоря из встроенных деталей не должно быть менее 8 мм и не должно превышать 25 мм. Количество прямых якорных стержней не должно составлять менее 4, и не должно быть более 4 рядов. Длина якоря прямолинейной якоря определяется, якорная длина сдвига и сжатый прямой якорный столб должен составлять не менее 15d, D - диаметр якоря.

Когда якорная полоса использует усиление класса HPB300, конец также должен иметь изогнутый крючок.


2. Встроенный бар

Q235B должен использоваться или Q355B, а диаметр должен составлять не менее 20 мм. Якорный болт должен быть установлен с помощью изогнутого крючка, или якорной пластины, или якорной луча, а длина его якорной стоянки не должна быть менее 25d.

4. Фонд болт

А якорный болт не следует использовать для выдержания горизонтальной силы реакции в нижней части колонны. Эта горизонтальная сила реакции сначала передается в бетонную основу через силу трения между стойкой колонны и бетонной поверхностью; Когда горизонтальная сила в нижней части колонны больше, чем сила трения, необходимо установить связи сдвига для сопротивления сдвигу.

После установки и коррекции пластина с анкерной подушкой (толщина должна составлять 0,5 ~ 0,7 раза от толщины нижней пластины), а нижняя пластина должна быть прочной. Болты должны быть прикреплены двойными гайками, а гайки и болтовые прокладки должны быть сварены.

Уровень химического болта, как правило, 4,8 (рыночный стандарт), 5,8 (национальный стандарт), 8,8 (высокая прочность), состоящий из винта, гайки, прокладки и химической трубы.

Химическая труба Химический якорный болт состоит из виниловой смолы, частиц кварцевого песка и отвержденного агента. Через синтетическую смолу раствор, соединение винта образует адгезию между винтом и стенкой отверстия и образует целое с помощью якоря, чтобы достичь роли исправления элемента и улучшения способности подшипника компонента.


7. Химический болт


Встроенный якорный стержень

Якорный болт

Химический болт

Марка стали

HRB400

Q355B

5,8 с

Диаметр (мм)

24

24

24

Область (мм2)

452.2

452.2

452.2

Эффективная площадь секции (MM2)

452.2

352.5

352.5

T Ensile Ultimate Stress (N/MM2)

540

470

500

Тонкая сила урожайности (N/MM2)

400

355

400

Прочность на прочность

300

180

240

Проектная мощность против активации (KN)

81.4

63.5

84.6



№ 268, Дорога Sancheng, Pingdu, Циндао, Шаньдун, Китай
Mobile / Wechat / WhatsApp:
+86-158-5320-9069 / +86-178-0625-1013
О нас
"Страсть, практичность, благодарность и трансцендентность " - наш корпоративный дух.

Публичный

Личный

Ссылки компании
категории товаров
Наш проект
Copyrights © 2021 Qingdao Xinguangzheng Steel Structure Co., Ltd. All Rights Reserved  Technology by leadong